
February 2026: Updates on Current, Emerging and Prolific Munitions added to METIS
Update on Current, Emerging and Prolific Munitions added to METIS
This Fenix Insight report updates customers on some of the new technical records recently added to METIS, highlighting some of the new information that METIS users can access.
![]() | KUB-2RUSSIAN WEAPONIZED DRONE CURRENT, EMERGING |
The Kub-2 (Ru: Куб-2, translation: Cube-2) is a Russian Federation-developed, one-way attack uncrewed aerial vehicle (OWA-UAV), which is also referred to as a kamikaze or suicide drone. It was unveiled by the Kalashnikov Concern Group and was first deployed in 2025. It is an upgraded version of the Kub and is aimed to be a competitor to the ZALA Lancet, but also has relation to the American Switchblade 600. | |
OSINT recorded by Fenix Insight on 16 Feb 2026: "Anti-aircraft FPV hit by the 🐝"Bzhuk" unit (1️⃣10th Edelweiss Airborne Brigade) of the updated kamikaze UAV "Kub-2-2" | |
![]() | PF89BCHINESE ROCKET CURRENT |
The PF89B is a Chinese-developed, individual, shoulder-fired, light anti-armour weapon (LAW), which launches a nominally 80 mm calibre tandem shaped charge (high explosive anti-tank [HEAT]) warhead-armed rocket. | |
![]() | SEA WOLFUKRAINIAN WEAPONIZED DRONE CURRENT, EMERGING, PROLIFIC |
The Sea Wolf is a Ukrainian one-way attack (OWA) uncrewed surface vessel (USV). It may also be referred to as a kamikaze drone or naval drone. The USV has an OWA role, but also a variety of other capabilities that makes it multi-role. These other capabilities include air defence, fire support, electronic warfare, minelaying and UAV deployment. | |
![]() | M72YUGOSLAVIAN MORTAR BOMB CURRENT |
The M72 is a former-Yugoslavian, 81 mm, fin-stabilised, high explosive fragmentation (HE-FRAG) bomb round, which was developed for the M69 81 mm mortar. | |
![]() | CHAKLUN-VUKRANIAN WEAPONIZED DRONE CURRENT, PROLIFIC |
The Chaklun-V (UA: Чаклун-В, translation: Wizard-V) is a Ukrainian, one-way attack uncrewed aerial vehicle (OWA-UAV), which is also referred to as a kamikaze or suicide drone. It is a far larger and wildly different in design than the original Chaklun, bearing more resemblance to the Lyutyy and FP-1/FP-2. | |
OSINT recorded by Fenix Insight on 06 Jun 2025: "A video shows a Ukrainian drone hitting a transmission tower in Engels, Russia" | |
![]() | MUGIN-3CHINESE WEAPONIZED DRONE CURRENT, EMERGING, PROLIFIC |
The Mugin-3 is a Chinese uncrewed aerial vehicle (UAV) that is commercially produced, but can be fitted with a warhead to provide a one-way attack (OWA) capability. There are several known variants of this UAV, which is part of a far larger series of Mugin Ltd. UAVs. | |
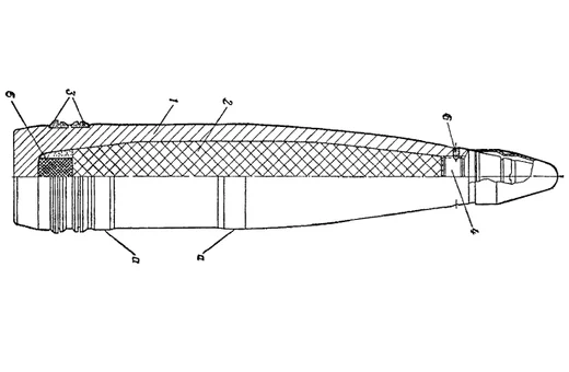
![]() | 53-O-481RUSSIAN PROJECTILE CURRENT |
The 53-O-481 (RU: 53-О-481) is a Soviet-era-developed, Russian Federation, 130 mm, steel-bodied, boat-tailed, spin-stabilised, high-explosive (HE) anti-aircraft artillery projectile. The 53-O-481 projectile, in conjunction with its fuze, forms part of the 53-VO-481 (RU: 53-ВО-481) round. | |
OSINT recorded by Fenix Insight on 20 Jan 2026: "Earlier this evening Ukraine hit a weapons/ammo dump in occupied territory." | |
We hope this overview of new and interesting munitions added to METIS has been useful. Our team is dedicated to continuously updating and expanding our entries.
If you have any questions or want to discuss this further, please don't hesitate to reach out.
Fenix Insight welcome your use of our data, visualisations, analysis, and other information, but always with proper attribution and a link back to our website. Please read our Attribution Policy for further information.






